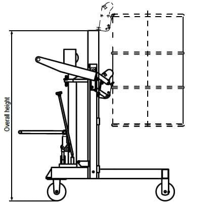
Drum Lifting Trolley
+ Add to Quote RequestThis drum lifting trolley is a heavy-duty device suitable for picking drums from the corner of a standard pallet. This drum stacker grips the rim of the drum using the sophisticated grab mechanism. The lifting and lowering are operated via the hydraulic cylinder. Hydraulics are controlled by a foot pedal pump for lifting and a hand lever for smooth lowering control. The increased lifting height is capable of stacking drums vertically.
Product Specifications:
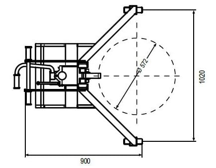
- Capacity: 450 kg
- Lifting height: 1050 mm*
- Overall Size (LxWxH): 1170 x 950 x 1870 mm
- Unit weight: 130 kg
*This is the dimension from the floor to the underside of a standard steel drum.
The height of the drum being lifted will dictate the clearance under the drum.















